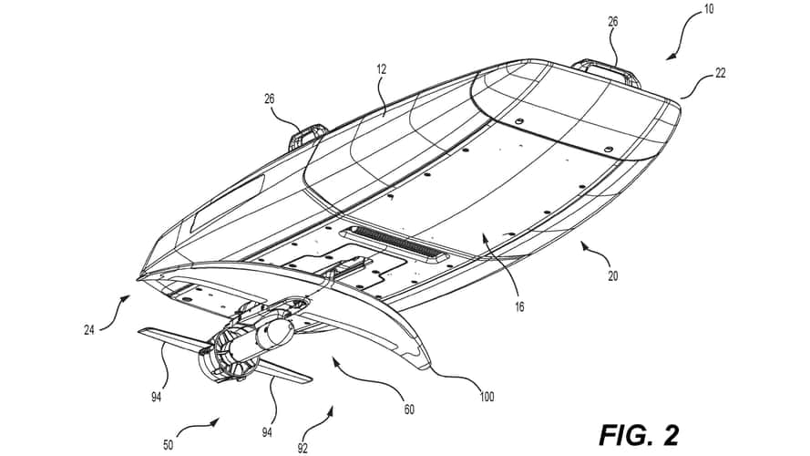
Sea-Doo Might Be Building an Electric Hydrofoil Surfboard Northshore, here we come! By Jonathon Klein Apr 23 -
Polaris Patents Electric Youth ATVs and UTVs, and Has 'Return Home' for Parents Get ready for your kids to shred in silence. By Jonathon Klein Apr 22 -
Is Yamaha Tricking Out Its Wild 3-Wheeler With a Bunch Of New Tech? While it went away in the US, it's alive and kicking in other markets. Is it getting an upgrade? By Janaki Jitchotvisut Apr 1 -
Polaris' Upcoming Electric Snowmobile Has F1 Technology, Here It Is Before It Debuts Sssh, don't tell anyone. By Jonathon Klein Mar 17 -
Is Aprilia Bringing Back This Legendary Sportbike? The OG Mille was powered by Rotax's mighty V990 engine. Is it time for a modern comeback? By Janaki Jitchotvisut Mar 12 -
What Is Kawasaki Really Up To With Its Supercharged 'Project H2' UTV? Please say a supercharged monster side by side is coming, Team Green. By Janaki Jitchotvisut Mar 12 -
There's an Electric Polaris RZR Coming Soon Are you ready to rip dunes in silence? By Jonathon Klein Mar 11 -
Is CFMoto Working On a CVT for a New Maxi Scooter? It could be for a motorcycle, but let's not be too close-minded. By Robbie Bacon Mar 6 -
Does Honda’s Motorcycle Patent Describe an Anti-Fall Device? Tell us what you see. By Robbie Bacon Jan 29 -
UTV-Maker Can-Am Patented a Truck Bed Insert and It Has a Lot of Accessories Is the company looking to spread its wings? By Jonathon Klein Jan 29 -
Sea-Doo Just Patented a Dope New Fishing-Forward Seat Design So what are we going after, bass or tarpon? By Jonathon Klein Jan 6 -
Get Ready to Mow Your Grass, Or Cut Deer Trails, With Polaris' New UTV Accessory Polaris saw that Monster Garage episode and thought, "Why not?" By Jonathon Klein Jan 3 -
What Exactly Is This New EV Can-Am Motorcycle Patent We Found? This has the RideApart team at odds. By Robbie Bacon Jan 2 -
Can You Seriously Trademark "Freedom"? Guess Bajaj Is About To Find Out In July 2024, Bajaj launched its first CNG bike, the Freedom 125. Now it's getting sued. By Janaki Jitchotvisut Oct 4 2024 -
Polaris Just Patented 360-Cameras for Its RZR UTV, Will Be Dope For Rock Crawling I can see...everything! By Jonathon Klein Sep 19 2024 -
Polaris’ New Patent Has Hydraulic Adjustable Suspension, Adds Further Utility Front and rear suspension height can be adjusted independently with the push of a button. By Enrico Punsalang Sep 6 2024 -
Kawasaki Patented a Truck-Launched UAV, What's It Planning? Seems like a Skynet type of thing, Kawasaki... By Jonathon Klein Sep 5 2024 -
New Patent Shows Electric Yamaha Sportbike, Production Uncertain Could this be the first serious electric sportbike we've seen from a major OEM? By Robbie Bacon Aug 8 2024 -
Honda Patents Four-Wheel, Three-Person MotoCompacto for Parents Now with added friend compartments. By Jonathon Klein Jul 1 2024 -
Weirdly, This Honda Scooter Patent Has a Car-Like Gas Pedal Could it get more people on two wheels? By Robbie Bacon Jun 28 2024 -
Polaris' New Trademark Hints at Electric Youth ATV Get ready, children. By Jonathon Klein Jun 26 2024 -
Shimano Just Patented a Brake-By-Wire System. Are Motorcycles Next? Fly-by-wire technology has been around for decades in planes and cars. But is it something the bicycle or motorcycle industry really needs? By Enrico Punsalang Jun 21 2024 -
Suzuki's Electric Motocross Patent is Essentially Just an EV-Swap It’s essentially an electric swap on an existing platform. By Enrico Punsalang Jun 14 2024 -
Does This Patent Show a New Electric Can-Am Motorcycle Model? We'll be getting our hands on the brand's other two soon, but here's something else. By Enrico Punsalang Jun 12 2024 -